省发改委 省教育厅关于做好湖北省第四批产教融合型企业申报工作的通知
各市、州、直管市、神农架林区发改委、教育局,有关企业:
为全面深化湖北省产教融合、校企合作,充分发挥企业在技术技能人才培养和人力资源开发中的重要主体作用,根据《湖北省产教融合建设试点工作方案》和《湖北省建设产教融合型企业实施细则(试行)》相关要求,拟启动湖北省第四批产教融合型企业申报工作,现就有关事项通知如下。
一、征集企业范围
坚持政府引导、行业支持、企业自愿、平等择优、先建后认、动态实施的基本原则,企业主营业务应属于《湖北省建设产教融合型企业实施细则(试行)》明确的重点领域范围,符合实施细则明确的试点建设培育湖北省产教融合型企业基本条件。
二、企业申报程序
申报企业通过湖北省产教融合型企业建设信息服务平台(http://47.99.240.74/)填报相关信息,提交申报材料,纸质盖章版申报材料提交时间另行通知,网上申报时间2023年6月15日至7月26日24时止。
三、申报分时安排
为保障企业有充足时间准备申报材料,同时缓解申报提交时服务器拥堵现象,此次申报工作分为两个时段进行。
(一)第一时段:宣传动员,准备申报材料
此阶段主要由各地有关部门宣传动员符合申报条件的企业积极申报,企业对照要求准备申报材料。各地发改、教育要加强宣传引导,组织经信、国资等相关部门对申报企业进行政策咨询解答,通过地方报纸、电视、微信、微博、公众号等传统和新媒体方式进行宣传,联合政府各委办局牵头的行业企业机构、地方企业联合会、工商联等各类组织做好宣传,确保宣传工作覆盖辖区全部企业。
申报企业登录湖北省产教融合型企业建设信息服务平台(http://47.99.240.74/),查看申报时需要提交的申报信息和相关材料,按照填报说明和填报手册要求准备资料,同时可以将准备好的资料上传至平台进行预填报。此阶段时间安排为2023年6月15日至7月8日。
(二)第二时段:确认信息,提交申报材料
此阶段主要为企业确认申报信息,提交申报材料。企业在平台上进一步核实填报的信息是否准确、完整,上传的资料是否上传成功,确认无误后在平台上确认提交。
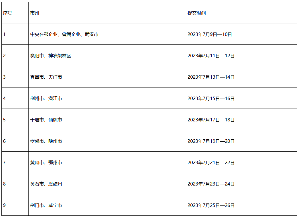
请各地组织好区域内申报工作,此阶段时间安排为2023年7月9日至7月26日,具体分时段安排为:

联系电话:省发改委 027—87231283
省教育厅 027—87328043
技术服务:王奕丰 18580426654、全擎宇13297121240
湖北省发展和改革委员会 湖北省教育厅
2023年6月14日

申报截止时间:2024-01-17

鄂公网安备42018502001402号 鄂ICP备17018819号-2
CopyRight@武汉华中师大科技园发展有限公司 AllRights Reserved
